現在汽車的制動系統正在經歷一場大變革,從液壓制動邁向更先進的全線控制動系統。這場變革中,京西智行的一項獨家創新技術——球盤式電子機械制動系統(EMB),即將改變我們的出行安全。
以前汽車的制動系統靠液壓油傳遞力量,就像根管子連接制動踏板和車輪,踩下去后液壓油推動剎車片夾緊車輪。但這種設計反應較慢、控制不夠精準,還容易漏油。特別是現在電動汽車越來越多,需要更快速、更智能的制動系統來匹配自動駕駛等高科技功能。

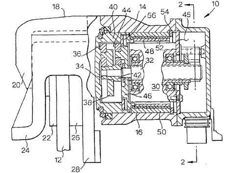
憑借40余年的卡鉗制動系統經驗、30余年的線控制動系統經驗,京西智行完全拋棄液壓油管、改用電子信號直接控制車輪制動,疊加算法積累,研發了非線性球盤式EMB,已擁有EMB核心專利數十項。
京西智行已將非線性球盤EMB做成了“全能選手”——整合ABS、ESC、TCS、ACC等全部制動系統功能,靈活適配不同車型的需求,實現更快的響應速度,更小的傳動比,更低轉速的電機,更好的NVH表現,又能支持L3級以上的自動駕駛。

小體積更經濟:球盤結構簡單,不需要復雜結構,量產成本更低,未來維護和使用成本將逐步降低。
省電又冷靜:長時間制動時保持夾緊力所需的電流需求極低,也不容易過熱。對電動車來說,這意味著能耗更低、更長行駛里程。
快得像閃電:從踩剎車到夾緊車輪停止轉動,只需要75至100毫秒。緊急情況下能多爭取寶貴的安全時間,讓您在遇到突發狀況時更有底氣。
穩定駐車更聰明:四個車輪都能獨立“鎖住”停車,不需要額外硬件裝置,還能根據坡道、載重等情況調整制動力度。比如坡道停車更穩當,再也不用擔心溜車問題。
自動“調零”更安全:剎車片磨損后,系統能快速調整間隙(僅需8%轉動行程),保證制動系統始終靈敏可靠。就像給制動系統裝了個“自動校準器”,避免“踩空”或“過緊”的問題,日常開車更安心。
放大看
上面這“五大超能力”將為車企和用戶帶來實實在在的“四大好處”:裝車時“即插即用”的電子接口,不用再灌剎車油、排空氣,省時省力;沒有液壓管,底盤更緊湊,設計師能騰出空間裝更大的電池或更舒適的座椅;剎車片不“粘”車輪,減少摩擦損耗,間接降低電耗;控制軟件還能和轉向、懸掛系統“對話”,在自動剎車時調整車身姿態,讓車更穩,未來升級也更靈活。
京西智行的球盤式EMB就像給汽車制動系統裝上了“最強大腦”,讓剎車更快、更準、更聰明。該系統規劃于2026年年底在國內率先投入量產。隨著電動車和自動駕駛越來越普及,這種技術可能會成為未來汽車的“標配”,讓我們的出行更安全、更高效、更環保。